Lentokoneen suunnitteluketju...!

Onko taipuvaisuutta nörttiyteen? Saa esittää omia nörtti-projekteja
Tonttu
Reactions:
Viestit: 9289
Liittynyt: 28 Joulu 2022, 15:33

Re: Lentokoneen suunnitteluketju...!

Viesti Kirjoittaja Tonttu »

antitaide kirjoitti: 03 Heinä 2025, 15:55
Tuulispää kirjoitti: 03 Heinä 2025, 10:44 Tämä oli mun keksintö muutaman vuoden takaa...sain 250 tuulimyllyä tuotua yhdellä kertaa ( sitä 200 kwsta ).




evergreen5zx.jpg

Vuodelta 2021.
Tällä hetkellä maailmassa ei todennäköisesti ole lentokenttää, joka voisi suoraan käsitellä 130 metriä leveää ja 110 metriä pitkää lentokonetta. Suurimmat olemassa olevat lentokentät (kuten Dubai, Beijing Daxing tai King Fahd) on suunniteltu ICAO:n koodin 4F mukaisille koneille, joiden siipiväli on enintään 80 metriä.
Korkeintaan jollekin sotilaslentokentälle tai aavikolle voisi operoida.

Suuri lentokone vaatisi poikkeuksellisen suuren pelastus- ja palontorjuntakapasiteetin (ICAO ARFF-kategoria 10 tai korkeampi).
Laskeutuminen ja nouseminen vaatisi todennäköisesti vähintään 3 000–4 000 metrin pituisen kiitotien, riippuen koneen painosta, moottorien tehosta ja nousunopeusvaatimuksista. Maailman pisimmät kiitotiet, kuten Qatarin Hamadin kansainvälisellä lentokentällä (4 850 m) tai Kiinassa Qamdo Bamdan lentokentällä (5 500 m), voisivat teoriassa riittää, mutta kiitotien leveys ja lujuus ovat kriittisiä.
Mutta mikäs siinä jos sait sillä tuotua 250 kpl 200 kWh tuulimyllyjä yhdellä kertaaOulunsalon kentälle.
On se nero tuo tuulis. Ihme että ei uutisissa tai edes paikallislehdessä ollut mitään mainintaa tuosta.
Avatar
Tuulispää
Reactions:
Viestit: 21306
Liittynyt: 30 Marras 2022, 09:24

Re: Lentokoneen suunnitteluketju...!

Viesti Kirjoittaja Tuulispää »

antitaide kirjoitti: 03 Heinä 2025, 15:55
Tuulispää kirjoitti: 03 Heinä 2025, 10:44 Tämä oli mun keksintö muutaman vuoden takaa...sain 250 tuulimyllyä tuotua yhdellä kertaa ( sitä 200 kwsta ).




evergreen5zx.jpg

Vuodelta 2021.
Tällä hetkellä maailmassa ei todennäköisesti ole lentokenttää, joka voisi suoraan käsitellä 130 metriä leveää ja 110 metriä pitkää lentokonetta. Suurimmat olemassa olevat lentokentät (kuten Dubai, Beijing Daxing tai King Fahd) on suunniteltu ICAO:n koodin 4F mukaisille koneille, joiden siipiväli on enintään 80 metriä.
Korkeintaan jollekin sotilaslentokentälle tai aavikolle voisi operoida.

Suuri lentokone vaatisi poikkeuksellisen suuren pelastus- ja palontorjuntakapasiteetin (ICAO ARFF-kategoria 10 tai korkeampi).
Laskeutuminen ja nouseminen vaatisi todennäköisesti vähintään 3 000–4 000 metrin pituisen kiitotien, riippuen koneen painosta, moottorien tehosta ja nousunopeusvaatimuksista. Maailman pisimmät kiitotiet, kuten Qatarin Hamadin kansainvälisellä lentokentällä (4 850 m) tai Kiinassa Qamdo Bamdan lentokentällä (5 500 m), voisivat teoriassa riittää, mutta kiitotien leveys ja lujuus ovat kriittisiä.
Mutta mikäs siinä jos sait sillä tuotua 250 kpl 200 kWh tuulimyllyjä yhdellä kertaaOulunsalon kentälle.
Sen takia kuvaan on esitetty kääntyvät siivet 80 m kohdalla. Opettele lukemaan kuvia...niillä on merkitystä....vai osaatko vain lukea tekstiä ?
Avatar
Tuulispää
Reactions:
Viestit: 21306
Liittynyt: 30 Marras 2022, 09:24

Re: Lentokoneen suunnitteluketju...!

Viesti Kirjoittaja Tuulispää »

antitaide kirjoitti: 03 Heinä 2025, 15:55
Tuulispää kirjoitti: 03 Heinä 2025, 10:44 Tämä oli mun keksintö muutaman vuoden takaa...sain 250 tuulimyllyä tuotua yhdellä kertaa ( sitä 200 kwsta ).




evergreen5zx.jpg

Vuodelta 2021.
Tällä hetkellä maailmassa ei todennäköisesti ole lentokenttää, joka voisi suoraan käsitellä 130 metriä leveää ja 110 metriä pitkää lentokonetta. Suurimmat olemassa olevat lentokentät (kuten Dubai, Beijing Daxing tai King Fahd) on suunniteltu ICAO:n koodin 4F mukaisille koneille, joiden siipiväli on enintään 80 metriä.
Korkeintaan jollekin sotilaslentokentälle tai aavikolle voisi operoida.

Suuri lentokone vaatisi poikkeuksellisen suuren pelastus- ja palontorjuntakapasiteetin (ICAO ARFF-kategoria 10 tai korkeampi).
Laskeutuminen ja nouseminen vaatisi todennäköisesti vähintään 3 000–4 000 metrin pituisen kiitotien, riippuen koneen painosta, moottorien tehosta ja nousunopeusvaatimuksista. Maailman pisimmät kiitotiet, kuten Qatarin Hamadin kansainvälisellä lentokentällä (4 850 m) tai Kiinassa Qamdo Bamdan lentokentällä (5 500 m), voisivat teoriassa riittää, mutta kiitotien leveys ja lujuus ovat kriittisiä.
Mutta mikäs siinä jos sait sillä tuotua 250 kpl 200 kWh tuulimyllyjä yhdellä kertaaOulunsalon kentälle.

Ei lentokoneen koolla ole markittävää yhteyttä koneen lentoolähtöön nähden.

Tässä on 5 metrin halkaisija moottoreissa...aivan eri tasolla kuin mikään tähän mennessä.
.Satunnainen seuraaja
Reactions:
Viestit: 296
Liittynyt: 17 Joulu 2022, 19:01

Re: Lentokoneen suunnitteluketju...!

Viesti Kirjoittaja .Satunnainen seuraaja »

Tuulispää kirjoitti: 03 Heinä 2025, 17:02
antitaide kirjoitti: 03 Heinä 2025, 15:55
Tuulispää kirjoitti: 03 Heinä 2025, 10:44 Tämä oli mun keksintö muutaman vuoden takaa...sain 250 tuulimyllyä tuotua yhdellä kertaa ( sitä 200 kwsta ).




evergreen5zx.jpg

Vuodelta 2021.
Tällä hetkellä maailmassa ei todennäköisesti ole lentokenttää, joka voisi suoraan käsitellä 130 metriä leveää ja 110 metriä pitkää lentokonetta. Suurimmat olemassa olevat lentokentät (kuten Dubai, Beijing Daxing tai King Fahd) on suunniteltu ICAO:n koodin 4F mukaisille koneille, joiden siipiväli on enintään 80 metriä.
Korkeintaan jollekin sotilaslentokentälle tai aavikolle voisi operoida.

Suuri lentokone vaatisi poikkeuksellisen suuren pelastus- ja palontorjuntakapasiteetin (ICAO ARFF-kategoria 10 tai korkeampi).
Laskeutuminen ja nouseminen vaatisi todennäköisesti vähintään 3 000–4 000 metrin pituisen kiitotien, riippuen koneen painosta, moottorien tehosta ja nousunopeusvaatimuksista. Maailman pisimmät kiitotiet, kuten Qatarin Hamadin kansainvälisellä lentokentällä (4 850 m) tai Kiinassa Qamdo Bamdan lentokentällä (5 500 m), voisivat teoriassa riittää, mutta kiitotien leveys ja lujuus ovat kriittisiä.
Mutta mikäs siinä jos sait sillä tuotua 250 kpl 200 kWh tuulimyllyjä yhdellä kertaaOulunsalon kentälle.

Ei lentokoneen koolla ole markittävää yhteyttä koneen lentoolähtöön nähden.

Tässä on 5 metrin halkaisija moottoreissa...aivan eri tasolla kuin mikään tähän mennessä.
Arvatenkin suunnittelet myös nuo moottorit.....
Avatar
Tuulispää
Reactions:
Viestit: 21306
Liittynyt: 30 Marras 2022, 09:24

Re: Lentokoneen suunnitteluketju...!

Viesti Kirjoittaja Tuulispää »

.Satunnainen seuraaja kirjoitti: 03 Heinä 2025, 17:21
Tuulispää kirjoitti: 03 Heinä 2025, 17:02
antitaide kirjoitti: 03 Heinä 2025, 15:55
Tuulispää kirjoitti: 03 Heinä 2025, 10:44 Tämä oli mun keksintö muutaman vuoden takaa...sain 250 tuulimyllyä tuotua yhdellä kertaa ( sitä 200 kwsta ).




evergreen5zx.jpg

Vuodelta 2021.
Tällä hetkellä maailmassa ei todennäköisesti ole lentokenttää, joka voisi suoraan käsitellä 130 metriä leveää ja 110 metriä pitkää lentokonetta. Suurimmat olemassa olevat lentokentät (kuten Dubai, Beijing Daxing tai King Fahd) on suunniteltu ICAO:n koodin 4F mukaisille koneille, joiden siipiväli on enintään 80 metriä.
Korkeintaan jollekin sotilaslentokentälle tai aavikolle voisi operoida.

Suuri lentokone vaatisi poikkeuksellisen suuren pelastus- ja palontorjuntakapasiteetin (ICAO ARFF-kategoria 10 tai korkeampi).
Laskeutuminen ja nouseminen vaatisi todennäköisesti vähintään 3 000–4 000 metrin pituisen kiitotien, riippuen koneen painosta, moottorien tehosta ja nousunopeusvaatimuksista. Maailman pisimmät kiitotiet, kuten Qatarin Hamadin kansainvälisellä lentokentällä (4 850 m) tai Kiinassa Qamdo Bamdan lentokentällä (5 500 m), voisivat teoriassa riittää, mutta kiitotien leveys ja lujuus ovat kriittisiä.
Mutta mikäs siinä jos sait sillä tuotua 250 kpl 200 kWh tuulimyllyjä yhdellä kertaaOulunsalon kentälle.

Ei lentokoneen koolla ole markittävää yhteyttä koneen lentoolähtöön nähden.

Tässä on 5 metrin halkaisija moottoreissa...aivan eri tasolla kuin mikään tähän mennessä.
Arvatenkin suunnittelet myös nuo moottorit.....
Kaikki riippuu siitä saanko tämän tuulivoimalan jalalle.
.Satunnainen seuraaja
Reactions:
Viestit: 296
Liittynyt: 17 Joulu 2022, 19:01

Re: Lentokoneen suunnitteluketju...!

Viesti Kirjoittaja .Satunnainen seuraaja »

Tuulispää kirjoitti: 03 Heinä 2025, 18:02
.Satunnainen seuraaja kirjoitti: 03 Heinä 2025, 17:21
Tuulispää kirjoitti: 03 Heinä 2025, 17:02
antitaide kirjoitti: 03 Heinä 2025, 15:55
Tuulispää kirjoitti: 03 Heinä 2025, 10:44 Tämä oli mun keksintö muutaman vuoden takaa...sain 250 tuulimyllyä tuotua yhdellä kertaa ( sitä 200 kwsta ).




evergreen5zx.jpg

Vuodelta 2021.
Tällä hetkellä maailmassa ei todennäköisesti ole lentokenttää, joka voisi suoraan käsitellä 130 metriä leveää ja 110 metriä pitkää lentokonetta. Suurimmat olemassa olevat lentokentät (kuten Dubai, Beijing Daxing tai King Fahd) on suunniteltu ICAO:n koodin 4F mukaisille koneille, joiden siipiväli on enintään 80 metriä.
Korkeintaan jollekin sotilaslentokentälle tai aavikolle voisi operoida.

Suuri lentokone vaatisi poikkeuksellisen suuren pelastus- ja palontorjuntakapasiteetin (ICAO ARFF-kategoria 10 tai korkeampi).
Laskeutuminen ja nouseminen vaatisi todennäköisesti vähintään 3 000–4 000 metrin pituisen kiitotien, riippuen koneen painosta, moottorien tehosta ja nousunopeusvaatimuksista. Maailman pisimmät kiitotiet, kuten Qatarin Hamadin kansainvälisellä lentokentällä (4 850 m) tai Kiinassa Qamdo Bamdan lentokentällä (5 500 m), voisivat teoriassa riittää, mutta kiitotien leveys ja lujuus ovat kriittisiä.
Mutta mikäs siinä jos sait sillä tuotua 250 kpl 200 kWh tuulimyllyjä yhdellä kertaaOulunsalon kentälle.

Ei lentokoneen koolla ole markittävää yhteyttä koneen lentoolähtöön nähden.

Tässä on 5 metrin halkaisija moottoreissa...aivan eri tasolla kuin mikään tähän mennessä.
Arvatenkin suunnittelet myös nuo moottorit.....
Kaikki riippuu siitä saanko tämän tuulivoimalan jalalle.
Niinpä niin.....
Avatar
Tuulispää
Reactions:
Viestit: 21306
Liittynyt: 30 Marras 2022, 09:24

Re: Lentokoneen suunnitteluketju...!

Viesti Kirjoittaja Tuulispää »

.Satunnainen seuraaja kirjoitti: 03 Heinä 2025, 20:22
Tuulispää kirjoitti: 03 Heinä 2025, 18:02
.Satunnainen seuraaja kirjoitti: 03 Heinä 2025, 17:21
Tuulispää kirjoitti: 03 Heinä 2025, 17:02
antitaide kirjoitti: 03 Heinä 2025, 15:55
Tuulispää kirjoitti: 03 Heinä 2025, 10:44 Tämä oli mun keksintö muutaman vuoden takaa...sain 250 tuulimyllyä tuotua yhdellä kertaa ( sitä 200 kwsta ).




evergreen5zx.jpg

Vuodelta 2021.
Tällä hetkellä maailmassa ei todennäköisesti ole lentokenttää, joka voisi suoraan käsitellä 130 metriä leveää ja 110 metriä pitkää lentokonetta. Suurimmat olemassa olevat lentokentät (kuten Dubai, Beijing Daxing tai King Fahd) on suunniteltu ICAO:n koodin 4F mukaisille koneille, joiden siipiväli on enintään 80 metriä.
Korkeintaan jollekin sotilaslentokentälle tai aavikolle voisi operoida.

Suuri lentokone vaatisi poikkeuksellisen suuren pelastus- ja palontorjuntakapasiteetin (ICAO ARFF-kategoria 10 tai korkeampi).
Laskeutuminen ja nouseminen vaatisi todennäköisesti vähintään 3 000–4 000 metrin pituisen kiitotien, riippuen koneen painosta, moottorien tehosta ja nousunopeusvaatimuksista. Maailman pisimmät kiitotiet, kuten Qatarin Hamadin kansainvälisellä lentokentällä (4 850 m) tai Kiinassa Qamdo Bamdan lentokentällä (5 500 m), voisivat teoriassa riittää, mutta kiitotien leveys ja lujuus ovat kriittisiä.
Mutta mikäs siinä jos sait sillä tuotua 250 kpl 200 kWh tuulimyllyjä yhdellä kertaaOulunsalon kentälle.

Ei lentokoneen koolla ole markittävää yhteyttä koneen lentoolähtöön nähden.

Tässä on 5 metrin halkaisija moottoreissa...aivan eri tasolla kuin mikään tähän mennessä.
Arvatenkin suunnittelet myös nuo moottorit.....
Kaikki riippuu siitä saanko tämän tuulivoimalan jalalle.
Niinpä niin.....
Niin ei kai tyhjätasku voi alkaa maailman ylivoimaisesti suurimpia koneita rakentamaan...kone on 8 x tehokkaampi kuin Jumbo Jet Boeing 747 jota pidetään suurena.

Ei maailmaa pelasteta millään Onnisen liikenteen matkahuoltopaketti tuulimyllyillä...täytyy olla pelit ja pensselit.
Observer
Reactions:
Viestit: 187
Liittynyt: 23 Kesä 2025, 14:13

Re: Lentokoneen suunnitteluketju...!

Viesti Kirjoittaja Observer »

Tuulispää kirjoitti: 03 Heinä 2025, 21:14
.Satunnainen seuraaja kirjoitti: 03 Heinä 2025, 20:22
Tuulispää kirjoitti: 03 Heinä 2025, 18:02
.Satunnainen seuraaja kirjoitti: 03 Heinä 2025, 17:21
Tuulispää kirjoitti: 03 Heinä 2025, 17:02
antitaide kirjoitti: 03 Heinä 2025, 15:55
Tuulispää kirjoitti: 03 Heinä 2025, 10:44 Tämä oli mun keksintö muutaman vuoden takaa...sain 250 tuulimyllyä tuotua yhdellä kertaa ( sitä 200 kwsta ).




evergreen5zx.jpg

Vuodelta 2021.
Tällä hetkellä maailmassa ei todennäköisesti ole lentokenttää, joka voisi suoraan käsitellä 130 metriä leveää ja 110 metriä pitkää lentokonetta. Suurimmat olemassa olevat lentokentät (kuten Dubai, Beijing Daxing tai King Fahd) on suunniteltu ICAO:n koodin 4F mukaisille koneille, joiden siipiväli on enintään 80 metriä.
Korkeintaan jollekin sotilaslentokentälle tai aavikolle voisi operoida.

Suuri lentokone vaatisi poikkeuksellisen suuren pelastus- ja palontorjuntakapasiteetin (ICAO ARFF-kategoria 10 tai korkeampi).
Laskeutuminen ja nouseminen vaatisi todennäköisesti vähintään 3 000–4 000 metrin pituisen kiitotien, riippuen koneen painosta, moottorien tehosta ja nousunopeusvaatimuksista. Maailman pisimmät kiitotiet, kuten Qatarin Hamadin kansainvälisellä lentokentällä (4 850 m) tai Kiinassa Qamdo Bamdan lentokentällä (5 500 m), voisivat teoriassa riittää, mutta kiitotien leveys ja lujuus ovat kriittisiä.
Mutta mikäs siinä jos sait sillä tuotua 250 kpl 200 kWh tuulimyllyjä yhdellä kertaaOulunsalon kentälle.

Ei lentokoneen koolla ole markittävää yhteyttä koneen lentoolähtöön nähden.

Tässä on 5 metrin halkaisija moottoreissa...aivan eri tasolla kuin mikään tähän mennessä.
Arvatenkin suunnittelet myös nuo moottorit.....
Kaikki riippuu siitä saanko tämän tuulivoimalan jalalle.
Niinpä niin.....
Niin ei kai tyhjätasku voi alkaa maailman ylivoimaisesti suurimpia koneita rakentamaan...kone on 8 x tehokkaampi kuin Jumbo Jet Boeing 747 jota pidetään suurena.

Ei maailmaa pelasteta millään Onnisen liikenteen matkahuoltopaketti tuulimyllyillä...täytyy olla pelit ja pensselit.
Nyt vain pitäisi löytää netistä se multimiljardöörinainen, joka rahoittaisi nuo Tuulispään megalomaaniset suunnitelmat ja maailma pelastuisi. :?
Avatar
asdf
Reactions:
Viestit: 6527
Liittynyt: 03 Joulu 2022, 15:04

Re: Lentokoneen suunnitteluketju...!

Viesti Kirjoittaja asdf »

Observer kirjoitti: 04 Heinä 2025, 05:38
Tuulispää kirjoitti: 03 Heinä 2025, 21:14
.Satunnainen seuraaja kirjoitti: 03 Heinä 2025, 20:22
Tuulispää kirjoitti: 03 Heinä 2025, 18:02
.Satunnainen seuraaja kirjoitti: 03 Heinä 2025, 17:21
Tuulispää kirjoitti: 03 Heinä 2025, 17:02
antitaide kirjoitti: 03 Heinä 2025, 15:55
Tuulispää kirjoitti: 03 Heinä 2025, 10:44 Tämä oli mun keksintö muutaman vuoden takaa...sain 250 tuulimyllyä tuotua yhdellä kertaa ( sitä 200 kwsta ).




evergreen5zx.jpg

Vuodelta 2021.
Tällä hetkellä maailmassa ei todennäköisesti ole lentokenttää, joka voisi suoraan käsitellä 130 metriä leveää ja 110 metriä pitkää lentokonetta. Suurimmat olemassa olevat lentokentät (kuten Dubai, Beijing Daxing tai King Fahd) on suunniteltu ICAO:n koodin 4F mukaisille koneille, joiden siipiväli on enintään 80 metriä.
Korkeintaan jollekin sotilaslentokentälle tai aavikolle voisi operoida.

Suuri lentokone vaatisi poikkeuksellisen suuren pelastus- ja palontorjuntakapasiteetin (ICAO ARFF-kategoria 10 tai korkeampi).
Laskeutuminen ja nouseminen vaatisi todennäköisesti vähintään 3 000–4 000 metrin pituisen kiitotien, riippuen koneen painosta, moottorien tehosta ja nousunopeusvaatimuksista. Maailman pisimmät kiitotiet, kuten Qatarin Hamadin kansainvälisellä lentokentällä (4 850 m) tai Kiinassa Qamdo Bamdan lentokentällä (5 500 m), voisivat teoriassa riittää, mutta kiitotien leveys ja lujuus ovat kriittisiä.
Mutta mikäs siinä jos sait sillä tuotua 250 kpl 200 kWh tuulimyllyjä yhdellä kertaaOulunsalon kentälle.

Ei lentokoneen koolla ole markittävää yhteyttä koneen lentoolähtöön nähden.

Tässä on 5 metrin halkaisija moottoreissa...aivan eri tasolla kuin mikään tähän mennessä.
Arvatenkin suunnittelet myös nuo moottorit.....
Kaikki riippuu siitä saanko tämän tuulivoimalan jalalle.
Niinpä niin.....
Niin ei kai tyhjätasku voi alkaa maailman ylivoimaisesti suurimpia koneita rakentamaan...kone on 8 x tehokkaampi kuin Jumbo Jet Boeing 747 jota pidetään suurena.

Ei maailmaa pelasteta millään Onnisen liikenteen matkahuoltopaketti tuulimyllyillä...täytyy olla pelit ja pensselit.
Nyt vain pitäisi löytää netistä se multimiljardöörinainen, joka rahoittaisi nuo Tuulispään megalomaaniset suunnitelmat ja maailma pelastuisi. :?
Se tuskin tuottaa ongelmia, kun miettii, kuinka nopealla aikataululla Tuuliksen projektit ovat tähän mennessä toteutuneet.
Mene mene tekel upharsin.
antitaide
Reactions:
Viestit: 475
Liittynyt: 20 Maalis 2023, 15:16

Re: Lentokoneen suunnitteluketju...!

Viesti Kirjoittaja antitaide »

Tuulispää kirjoitti: 03 Heinä 2025, 16:58
antitaide kirjoitti: 03 Heinä 2025, 15:55
Tuulispää kirjoitti: 03 Heinä 2025, 10:44 Tämä oli mun keksintö muutaman vuoden takaa...sain 250 tuulimyllyä tuotua yhdellä kertaa ( sitä 200 kwsta ).




evergreen5zx.jpg

Vuodelta 2021.
Tällä hetkellä maailmassa ei todennäköisesti ole lentokenttää, joka voisi suoraan käsitellä 130 metriä leveää ja 110 metriä pitkää lentokonetta. Suurimmat olemassa olevat lentokentät (kuten Dubai, Beijing Daxing tai King Fahd) on suunniteltu ICAO:n koodin 4F mukaisille koneille, joiden siipiväli on enintään 80 metriä.
Korkeintaan jollekin sotilaslentokentälle tai aavikolle voisi operoida.

Suuri lentokone vaatisi poikkeuksellisen suuren pelastus- ja palontorjuntakapasiteetin (ICAO ARFF-kategoria 10 tai korkeampi).
Laskeutuminen ja nouseminen vaatisi todennäköisesti vähintään 3 000–4 000 metrin pituisen kiitotien, riippuen koneen painosta, moottorien tehosta ja nousunopeusvaatimuksista. Maailman pisimmät kiitotiet, kuten Qatarin Hamadin kansainvälisellä lentokentällä (4 850 m) tai Kiinassa Qamdo Bamdan lentokentällä (5 500 m), voisivat teoriassa riittää, mutta kiitotien leveys ja lujuus ovat kriittisiä.
Mutta mikäs siinä jos sait sillä tuotua 250 kpl 200 kWh tuulimyllyjä yhdellä kertaaOulunsalon kentälle.
Sen takia kuvaan on esitetty kääntyvät siivet 80 m kohdalla. Opettele lukemaan kuvia...niillä on merkitystä....vai osaatko vain lukea tekstiä ?
Onko sillä myös käännetyt siivet kiitoradalla lentoonlähdössä ja laskussa?

60 metrin minimileveys on ICAO:n standardi F-kategorian lentokenttien kiitoradoille, jotka on suunniteltu suurimmille nykyisille lentokoneille (leveys alle 80m), mutta se ei riitä poikkeuksellisen suurille koneille, kuten 130,4 m leveälle lentokoneelle. A380:n kaltaiset koneet (leveys 79,75 metriä) voivat vielä operoida turvallisesti.
Avatar
Tuulispää
Reactions:
Viestit: 21306
Liittynyt: 30 Marras 2022, 09:24

Re: Lentokoneen suunnitteluketju...!

Viesti Kirjoittaja Tuulispää »

antitaide kirjoitti: 04 Heinä 2025, 07:36
Tuulispää kirjoitti: 03 Heinä 2025, 16:58
antitaide kirjoitti: 03 Heinä 2025, 15:55
Tuulispää kirjoitti: 03 Heinä 2025, 10:44 Tämä oli mun keksintö muutaman vuoden takaa...sain 250 tuulimyllyä tuotua yhdellä kertaa ( sitä 200 kwsta ).




evergreen5zx.jpg

Vuodelta 2021.
Tällä hetkellä maailmassa ei todennäköisesti ole lentokenttää, joka voisi suoraan käsitellä 130 metriä leveää ja 110 metriä pitkää lentokonetta. Suurimmat olemassa olevat lentokentät (kuten Dubai, Beijing Daxing tai King Fahd) on suunniteltu ICAO:n koodin 4F mukaisille koneille, joiden siipiväli on enintään 80 metriä.
Korkeintaan jollekin sotilaslentokentälle tai aavikolle voisi operoida.

Suuri lentokone vaatisi poikkeuksellisen suuren pelastus- ja palontorjuntakapasiteetin (ICAO ARFF-kategoria 10 tai korkeampi).
Laskeutuminen ja nouseminen vaatisi todennäköisesti vähintään 3 000–4 000 metrin pituisen kiitotien, riippuen koneen painosta, moottorien tehosta ja nousunopeusvaatimuksista. Maailman pisimmät kiitotiet, kuten Qatarin Hamadin kansainvälisellä lentokentällä (4 850 m) tai Kiinassa Qamdo Bamdan lentokentällä (5 500 m), voisivat teoriassa riittää, mutta kiitotien leveys ja lujuus ovat kriittisiä.
Mutta mikäs siinä jos sait sillä tuotua 250 kpl 200 kWh tuulimyllyjä yhdellä kertaaOulunsalon kentälle.
Sen takia kuvaan on esitetty kääntyvät siivet 80 m kohdalla. Opettele lukemaan kuvia...niillä on merkitystä....vai osaatko vain lukea tekstiä ?
Onko sillä myös käännetyt siivet kiitoradalla lentoonlähdössä ja laskussa?

60 metrin minimileveys on ICAO:n standardi F-kategorian lentokenttien kiitoradoille, jotka on suunniteltu suurimmille nykyisille lentokoneille (leveys alle 80m), mutta se ei riitä poikkeuksellisen suurille koneille, kuten 130,4 m leveälle lentokoneelle. A380:n kaltaiset koneet (leveys 79,75 metriä) voivat vielä operoida turvallisesti.
Kääntyvät on tarpeen kun tullaan tankkaukseen ja ja rampille tai matkustajasilloille.
Avatar
Tuulispää
Reactions:
Viestit: 21306
Liittynyt: 30 Marras 2022, 09:24

Re: Lentokoneen suunnitteluketju...!

Viesti Kirjoittaja Tuulispää »

asdf kirjoitti: 04 Heinä 2025, 05:59
Observer kirjoitti: 04 Heinä 2025, 05:38
Tuulispää kirjoitti: 03 Heinä 2025, 21:14
.Satunnainen seuraaja kirjoitti: 03 Heinä 2025, 20:22
Tuulispää kirjoitti: 03 Heinä 2025, 18:02
.Satunnainen seuraaja kirjoitti: 03 Heinä 2025, 17:21
Tuulispää kirjoitti: 03 Heinä 2025, 17:02
antitaide kirjoitti: 03 Heinä 2025, 15:55
Tuulispää kirjoitti: 03 Heinä 2025, 10:44 Tämä oli mun keksintö muutaman vuoden takaa...sain 250 tuulimyllyä tuotua yhdellä kertaa ( sitä 200 kwsta ).




evergreen5zx.jpg

Vuodelta 2021.
Tällä hetkellä maailmassa ei todennäköisesti ole lentokenttää, joka voisi suoraan käsitellä 130 metriä leveää ja 110 metriä pitkää lentokonetta. Suurimmat olemassa olevat lentokentät (kuten Dubai, Beijing Daxing tai King Fahd) on suunniteltu ICAO:n koodin 4F mukaisille koneille, joiden siipiväli on enintään 80 metriä.
Korkeintaan jollekin sotilaslentokentälle tai aavikolle voisi operoida.

Suuri lentokone vaatisi poikkeuksellisen suuren pelastus- ja palontorjuntakapasiteetin (ICAO ARFF-kategoria 10 tai korkeampi).
Laskeutuminen ja nouseminen vaatisi todennäköisesti vähintään 3 000–4 000 metrin pituisen kiitotien, riippuen koneen painosta, moottorien tehosta ja nousunopeusvaatimuksista. Maailman pisimmät kiitotiet, kuten Qatarin Hamadin kansainvälisellä lentokentällä (4 850 m) tai Kiinassa Qamdo Bamdan lentokentällä (5 500 m), voisivat teoriassa riittää, mutta kiitotien leveys ja lujuus ovat kriittisiä.
Mutta mikäs siinä jos sait sillä tuotua 250 kpl 200 kWh tuulimyllyjä yhdellä kertaaOulunsalon kentälle.

Ei lentokoneen koolla ole markittävää yhteyttä koneen lentoolähtöön nähden.

Tässä on 5 metrin halkaisija moottoreissa...aivan eri tasolla kuin mikään tähän mennessä.
Arvatenkin suunnittelet myös nuo moottorit.....
Kaikki riippuu siitä saanko tämän tuulivoimalan jalalle.
Niinpä niin.....
Niin ei kai tyhjätasku voi alkaa maailman ylivoimaisesti suurimpia koneita rakentamaan...kone on 8 x tehokkaampi kuin Jumbo Jet Boeing 747 jota pidetään suurena.

Ei maailmaa pelasteta millään Onnisen liikenteen matkahuoltopaketti tuulimyllyillä...täytyy olla pelit ja pensselit.
Nyt vain pitäisi löytää netistä se multimiljardöörinainen, joka rahoittaisi nuo Tuulispään megalomaaniset suunnitelmat ja maailma pelastuisi. :?
Se tuskin tuottaa ongelmia, kun miettii, kuinka nopealla aikataululla Tuuliksen projektit ovat tähän mennessä toteutuneet.
Se on totta.....potkureiden kehittämiseen meni tanskalaisilla 100 vuotta..mulla vain 7 vuotta. Vauhti on massiivisen huimaavaa...mutta totta.
Avatar
Tuulispää
Reactions:
Viestit: 21306
Liittynyt: 30 Marras 2022, 09:24

Re: Lentokoneen suunnitteluketju...!

Viesti Kirjoittaja Tuulispää »

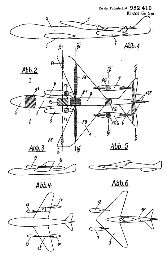
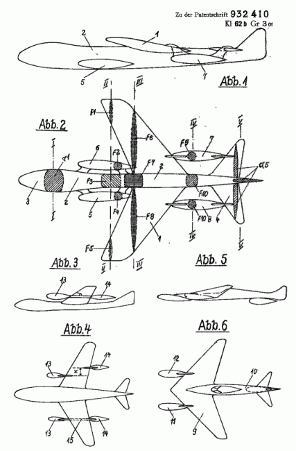
Mikäli haluaisimme oikeasti tehokkaan hävittäjän Suomeen ottaisimme pohjaksi tämän Kelly Johnsonin 2 moottorisen häätäjän ja laittaisimme siihen aerodynamiikkaa ja 2 x LS moottorit Chevystä.




Tässä 15 vuotta vanha oma illustraatio sellaisesta.
imageproxy.jpg
Junkers tutki tällaisen konseptin jo 40-luvulla (kuvassa oikealla alhaalla).
166811-277e7a3f8150740da38f28795def1744.gif
Tämä on käsittääkseni ainoa mahdollinen konsepti jos potkuri koneella halutaan liikkua 965 km/t.
Avatar
Tuulispää
Reactions:
Viestit: 21306
Liittynyt: 30 Marras 2022, 09:24

Re: Lentokoneen suunnitteluketju...!

Viesti Kirjoittaja Tuulispää »

Tuolla saisi risteilyohjuksia ammuttiua alas huokella.
Tonttu
Reactions:
Viestit: 9289
Liittynyt: 28 Joulu 2022, 15:33

Re: Lentokoneen suunnitteluketju...!

Viesti Kirjoittaja Tonttu »

Tuulispää kirjoitti: 06 Heinä 2025, 10:19 Tuolla saisi risteilyohjuksia ammuttiua alas huokella.
Eipä piirustuksella paljon ole risteilyohjuksia ammuttu. :lol:
Suosittele ketjua Vastaa Viestiin